Skip to product information
Pipe - Pipe Barrel Union Brass Nut EPDM Flat Seal
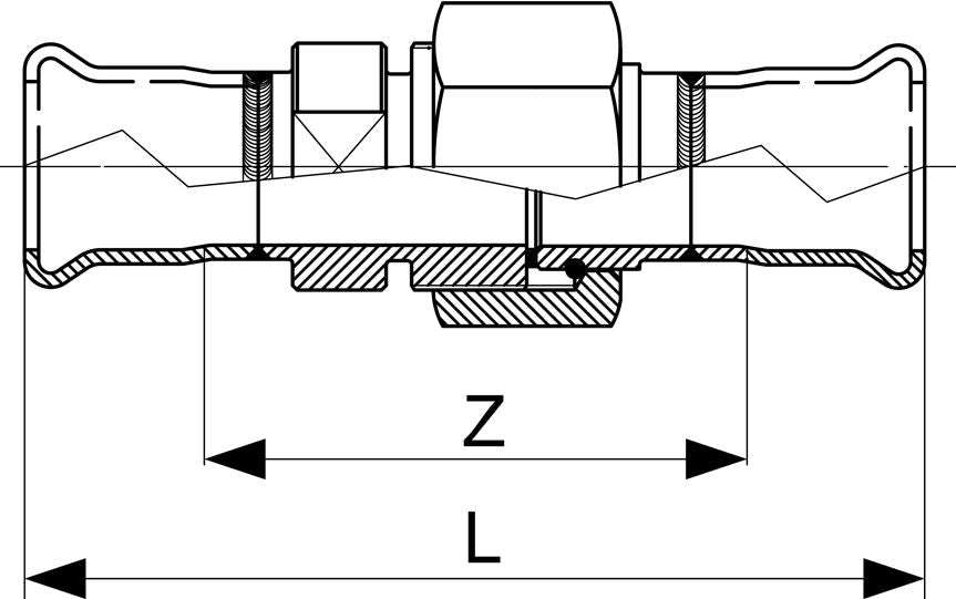
The Pipe - Pipe Barrel union provides disconnection capacity at any point in the pipework. The 'wetted' surfaces are 316L stainless steel with a brass union nut for a more economical fitting. A flat EPDM seal is standard with FPM or HNBR available as options. The pipe diameter is D and the overall length is L with Z being the finished distance between the two ends of the pipe.
Related Products